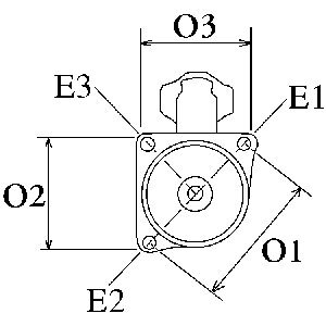
Electromotor
Directia de rotatie: rotatie contrar acelor de ceasornic
Numarul gaurilor de fixare: 3
Tensiune [V]: 24
Putere electromotor [kW]: 4
Lungime 2 [mm]: 28
Lungime 1 [mm]: 89
As-pl
fara informatii
Solicita oferta
Electromotor
Lungime 1 [mm]: 88,70
Lungime 2 [mm]: 28
Putere electromotor [kW]: 4
Tensiune [V]: 24
Numarul gaurilor de fixare: 3
Numarul gaurilor filetate: 0
Directia de rotatie: rotatie contrar acelor de ceasornic
Numar dinti: 11
As-pl
fara informatii
Solicita oferta
Electromotor
Lungime 1 [mm]: 88,5
Lungime 2 [mm]: 29
Putere electromotor [kW]: 4
Tensiune [V]: 24
Numarul gaurilor de fixare: 3
Numarul gaurilor filetate: 0
Directia de rotatie: rotatie contrar acelor de ceasornic
Numar dinti: 11
As-pl
fara informatii
Solicita oferta
Electromotor
Tensiune [V]: 24
Putere electromotor [kW]: 4.0
Directia de rotatie: rotatie contrar acelor de ceasornic
Diametru flansa [mm]: 89.00
Numar dinti: 11
Numarul gaurilor de fixare: 3
Numarul gaurilor filetate: 0
Pozitie initiala-Pinion [mm]: 27.00
Hc-cargo
fara informatii
Solicita oferta
Electromotor
Tensiune [V]: 24
Putere electromotor [kW]: 4
Directia de rotatie: rotatie contrar acelor de ceasornic
Diametru flansa [mm]: 89
Numar dinti: 11
Numarul gaurilor de fixare: 3
Numarul gaurilor filetate: 0
Pozitie initiala-Pinion [mm]: 28
fara informatii
Solicita oferta
Electromotor
Conector/clema: cu clema 50(jet)
Numarul gaurilor de fixare: 3
Numarul gaurilor filetate: 0
Piesa la schimb
Directia de rotatie: rotatie contrar acelor de ceasornic
Diametru flansa [mm]: 89
Tensiune [V]: 24
Putere electromotor [kW]: 4
Numar dinti: 11
fara informatii
Solicita oferta
Electromotor
Piesa noua
Numarul gaurilor de fixare: 3
Returnarea pieselor vechi nu este necesara
Directia de rotatie: rotatie contrar acelor de ceasornic
Diametru flansa [mm]: 89
Pozitie initiala-Pinion [mm]: 28
Tensiune [V]: 24
Putere electromotor [kW]: 4
Numar dinti: 11
fara informatii
Solicita oferta
Electromotor
Tensiune [V]: 24
Putere electromotor [kW]: 4
Numarul gaurilor de fixare: 3
Numar dinti: 11
Directia de rotatie: rotatie contrar acelor de ceasornic
Dimanetru suport [mm]: 89
Numarul gaurilor filetate: 0
Pozitie initiala-Pinion [mm]: 28
Garantie: Garantie 2 ani
Piesa la schimb
fara informatii
Solicita oferta
fara informatii
Solicita oferta
Electromotor
Tensiune [V]: 24
Numar dinti: 11
Putere motor [kW]: 4
Distanta/diametru [mm]: 28.0
Directia de rotatie: rotatie contrar acelor de ceasornic
Diametru flansa [mm]: 89
Numarul gaurilor filetate: 0
Numarul gaurilor de fixare: 3
fara informatii
Solicita oferta